Pensez à la synergie des caractéristiques !
Lors de l’examen des demandes de brevet en Chine, on rencontre souvent la situation suivante : après avoir comparé l’objet d’une revendication avec l’état de la technique le plus proche, l’examinateur énumère plusieurs caractéristiques techniques distinctives. Il les analyse ensuite individuellement, estimant que chacune d’elles est soit déjà divulguée par d’autres documents, soit appartient aux connaissances générales du domaine ou aux moyens techniques conventionnels. Sur cette base, l’examinateur conclut à l’absence d’activité inventive de l’objet de la revendication.
Le déposant se sent souvent désarmé face à de telles conclusions. Comment réfuter le point de vue de l’examinateur ? Deux affaires apportent des éclaircissements particulièrement instructifs à ce sujet.
I. Affaire I : Arrêt de la Cour suprême (2020) Zhixingzhong n° 279
Il s’agit d’une décision de deuxième instance rendue par la Cour suprême dans une affaire d’invalidation d’un brevet d’invention. La société A est le titulaire du brevet d’invention CN101634065B, la société B a engagé une action en invalidation contre ce brevet. La CNIPA (Office national de la propriété intellectuelle de Chine) a déclaré le brevet valide, mais la société B, insatisfaite de cette décision, a intenté une action en justice. La cour de première instance a annulé la décision de la CNIPA et demandé à cette dernière d’en rendre une nouvelle. La société A et la CNIPA, n’acceptant pas le jugement de première instance, ont interjeté appel auprès de la Cour suprême. Après examen, la Cour suprême a annulé le jugement de première instance et rejeté les demandes de la société B, de sorte que le brevet est finalement jugé valide.
La revendication 1 du brevet se lit comme suit :
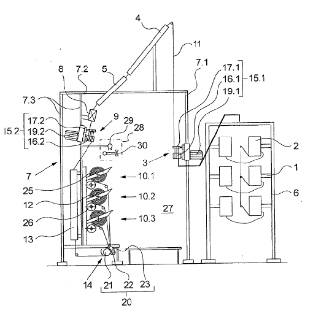
1. Machine de texturation par faux-tour pour déformer plusieurs fils multifilaires (…), caractérisée en ce que le premier mécanisme de transport (3) et le deuxième mécanisme de transport (9) sont chacun constitués d’un mécanisme de transport par enroulement (15.1, 15.2), tandis que le troisième mécanisme de transport (14) est constitué d’un mécanisme de transport par serrage (20).
Fig. 1 du brevet CN101634065B
Le document D1, identifié comme l’état de la technique le plus proche, correspond à une demande de brevet CN101272975A, également au nom de la société A. D1 divulgue deux modes de réalisation : dans le premier mode, le premier, le deuxième et le troisième mécanismes de transport sont tous des mécanismes de transport par enroulement ; dans le deuxième mode, le premier, le deuxième et le troisième mécanismes de transport sont tous des mécanismes de transport par serrage.
Détermination des caractéristiques techniques distinctives
La CNIPA estime que les caractéristiques distinctives entre le brevet en question et D1 résident dans la combinaison des caractéristiques (A) et (B).
En revanche, la cour de première instance estime que seule la caractéristique (B) est une caractéristique distinctive, pour les raisons suivantes : « Le premier et le deuxième mécanismes de transport, d’une part, et le troisième mécanisme de transport, d’autre part, assurent des fonctions différentes et ne sont liés que par une simple connexion mécanique. Ils sont relativement indépendants en termes de structure, de fonction et de relation de coopération mutuelle, et ne présentent pas de lien étroit et inséparable. Par conséquent, lors de la détermination des caractéristiques distinctives, il ne faut pas combiner les trois mécanismes de transport en un tout pour la comparaison. La combinaison des deux types de mécanismes de transport produit simultanément deux effets avantageux : d’une part, elle cause peu de dommages au fil à l’avant, et d’autre part, elle assure une tension constante à l’arrière, facilitant le changement de bobine. Cependant, ces effets ne résultent pas d’une synergie produite par la combinaison des deux types de mécanismes de transport, mais sont une simple superposition des effets respectifs de chaque type de mécanisme.«
Face à ces deux points de vue différents, la Cour suprême a opté pour le premier.
La Cour suprême estime ainsi que : « Lorsqu’on détermine les caractéristiques techniques distinctives d’une invention revendiquée par rapport à l’état de la technique le plus proche, il faut partir de la conception inventive de l’invention et déterminer les différences techniques entre l’invention et l’état de la technique le plus proche. Si la conception inventive de l’invention réside justement dans la combinaison des divers moyens techniques correspondants, et si l’état de la technique ne divulgue pas directement ou implicitement l’enseignement de cette combinaison, ni les effets techniques que cette combinaison peut produire, alors lors de la détermination des caractéristiques distinctives, la combinaison des moyens techniques protégés par l’invention doit être traitée globalement, et il ne convient pas de considérer chaque moyen technique isolément comme l’objet de base pour juger s’il constitue une caractéristique distinctive. »
Plus précisément, la Cour suprême a analysé les raisons pour lesquelles les caractéristiques distinctives du brevet en question doivent être identifiées comme la combinaison des caractéristiques (A) et (B) selon trois aspects.
Premièrement, selon la description du brevet en question, l’amélioration et le perfectionnement de l’invention par rapport à D1 résident dans la combinaison de deux types différents de mécanismes de transport (mécanisme de transport par enroulement et mécanisme de transport par serrage) pour constituer un nouveau mécanisme de transport de fils, permettant une texturation et un traitement de haute qualité des fils.
Plus précisément, selon le paragraphe [0011] de la description, le fait de configurer le premier et le deuxième mécanismes de transport en tant que mécanismes de transport par enroulement permet de guider le fil dans la zone de texturation et d’étirement, et de le guider sans dommage dans la zone de post-traitement ; ensuite, le dispositif de transport par serrage permet de maintenir une tension constante du fil dans la zone de post-traitement, évitant ainsi le relâchement dans cette zone pendant le processus de bobinage et de changement de bobine. Il apparaît donc que la conception inventive du brevet en question est la suivante : par la combinaison de différents types de mécanismes de transport, c’est-à-dire en configurant le premier et le deuxième mécanismes de transport comme des mécanismes de transport par enroulement et le troisième mécanisme de transport comme un mécanisme de transport par serrage, on réalise l’effet technique consistant à « guider le fil sans dommage dans la zone de post-traitement et assurer une tension constante du fil dans cette zone, évitant le relâchement pendant le bobinage et le changement de bobine ».
Deuxièmement, D1 divulgue une machine de texturation par faux-tour ; dans le premier mode de réalisation décrit dans sa description, les trois dispositifs d’alimentation sont tous des mécanismes de transport par enroulement ; dans le deuxième mode de réalisation, les trois dispositifs d’alimentation sont tous des mécanismes de transport par serrage. Par conséquent, les dispositifs de transport de fils divulgués dans les premier et deuxième modes de réalisation de D1 sont tous constitués d’une combinaison de mécanismes de transport d’un même type, et ne fournissent aucun enseignement sur des dispositifs d’alimentation constitués d’une combinaison de mécanismes de transport de types différents, ni ne divulguent les effets techniques que peut produire une telle combinaison. Par conséquent, lors de la détermination des caractéristiques distinctives du brevet en question à l’égard de l’état de la technique le plus proche, la combinaison de différents types de mécanismes de transport du brevet en question doit être traitée globalement.
Enfin, le livre « Traitement moderne des fils texturés » soumis par le titulaire du brevet en deuxième instance indique que « l’optimisation méticuleuse du dispositif de transport de fils, de la surface de contact du fil et de l’angle d’enroulement, etc., est très importante pour obtenir un traitement à haute vitesse stable et des produits de haute qualité« . Cela prouve que les divers mécanismes de transport composant le dispositif d’alimentation ne sont pas indépendants les uns des autres ; le type de mécanismes de transport et leur configuration dans les étapes affectent tous de manière significative la qualité finale du produit et son efficacité, ce qui confirme également que les divers mécanismes de transport composant le dispositif d’alimentation du brevet en question présentent une relation de coopération étroite. Par conséquent, lors de la détermination des caractéristiques distinctives entre le brevet en question et l’état de la technique le plus proche, il convient de traiter globalement la combinaison de différents types de mécanismes de transport du brevet.
Activité inventive de l’invention au vu de la combinaison de D1 et des connaissances générales
La Cour suprême estime que :
Dans l’approche dite des « trois-étapes » (similaire à l’approche de « problème-solution » pratiquée par l’OEB) utilisée pour apprécier l’activité inventive d’une invention, lorsqu’il s’agit de déterminer si l’état de la technique fournit un enseignement sur la combinaison des caractéristiques distinctives avec l’état de la technique le plus proche, il faut, sur la base des connaissances et des capacités d’une personne du métier, examiner si l’état de la technique fournit un enseignement sur la coopération et la combinaison des différents moyens techniques dans les caractéristiques distinctives. Si le processus de combinaison des caractéristiques distinctives avec l’état de la technique le plus proche pour former la solution technique protégée par l’invention nécessite un effort inventif de la part d’une personne du métier, le simple fait que les divers moyens techniques de l’invention soient respectivement divulgués par d’autres états de la technique ou appartiennent aux connaissances générales ne suffit pas à établir que l’état de la technique ou les connaissances générales fournissent un enseignement sur la combinaison des caractéristiques distinctives avec l’état de la technique le plus proche pour former la solution technique protégée par l’invention.
De plus, lors de l’évaluation de l’activité inventive, il faut éviter de comprendre de manière inappropriée la solution technique de l’invention comme une simple superposition de plusieurs états de la technique, ce qui conduirait à sous-estimer le niveau d’activité inventive de l’invention ou à adopter une analyse « a posteriori ».
Dans la présente affaire, comme mentionné précédemment, la caractéristique distinctive du brevet en question par rapport à D1 est la suivante : le premier et le deuxième mécanismes de transport sont respectivement constitués d’un mécanisme de transport par enroulement, et le troisième mécanisme de transport est constitué d’un mécanisme de transport par serrage. Par conséquent, le problème technique que le brevet en question entend résoudre, déterminé sur la base de l’effet technique apporté par cette caractéristique distinctive, est de réduire les dommages sur le fil à l’avant et de maintenir une tension constante à l’arrière, facilitant le changement de bobine.
Pour résoudre ce problème technique, D1 utilise un moyen technique consistant à ajouter un dispositif de transport pneumatique. Les premier et deuxième modes de réalisation de D1 ne fournissent qu’une solution technique de faux-tournement à l’aide de plusieurs mécanismes de transport du même type, et ne donnent aucun enseignement sur la combinaison de mécanismes de transport par enroulement et de mécanismes de transport par serrage de types différents pour résoudre le problème technique susmentionné, ni sur l’effet technique que cette combinaison pourrait produire. De plus, D1 ayant déjà résolu le problème technique de la tension constante du fil par l’ajout d’un dispositif de transport pneumatique, une personne du métier, partant de D1, n’aurait aucune motivation à l’améliorer ou à adopter d’autres solutions techniques. Par conséquent, le brevet en question fait preuve d’activité inventive au vu de la combinaison de D1 et des connaissances générales.
II. Affaire II : Arrêt de la Cour suprême (2021) Zhixingzhong n° 1226
Cet arrêt est une décision de deuxième instance rendue par la Cour suprême dans une affaire d’invalidation d’un modèle d’utilité. Une entreprise de chauffage électrique est titulaire du modèle d’utilité CN204859578U, et un particulier a déposé une action en nullité à l’encontre de ce modèle d’utilité. La CNIPA a maintenu la validité du brevet. Insatisfait de cette décision, le particulier a intenté une action en justice. La cour de première instance a annulé la décision de la CNIPA et demandé à cette dernière d’en rendre une nouvelle. Après examen, la Cour suprême a annulé le jugement de première instance et rejeté les demandes du particulier, de sorte que le brevet est finalement considéré valide.
La revendication indépendante 1 du modèle d’utilité s’énonce comme suit :
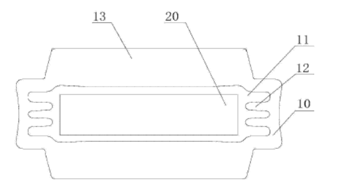
1. Un substrat de dissipation de chaleur (1) destiné à loger un composant chauffant PTC, caractérisé en ce que (…),
– sur la paroi intérieure gauche de la chambre dans la cavité de logement (12), respectivement au niveau supérieur et inférieur, sont disposées des premières nervures de positionnement (14) s’étendant dans la direction de la longueur de la chambre ;
– de manière correspondante, sur la paroi intérieure droite de la chambre dans la cavité de logement (12), respectivement au niveau supérieur et inférieur, sont disposées des secondes nervures de positionnement (15) s’étendant dans la direction de la longueur de la chambre ;
– la surface intérieure gauche de la cavité de logement entre les deux premières nervures de positionnement (14) est une surface courbe convexe vers l’extérieur ;
– la surface intérieure droite de la cavité de logement entre les deux secondes nervures de positionnement (15) est également une surface courbe convexe vers l’extérieur ;
– les parois extérieures gauche et droite de la chambre (11) sont toutes deux des structures en rainure (18) s’étendant dans la direction de la longueur de la chambre ;
(…).
Fig. 1 du modèle d’utilité CN204859578U
Le document D1, l’état de la technique le plus proche, est un modèle d’utilité chinois CN204180289U, portant sur un radiateur PTC à denture dégagée.
Les enjeux centraux de cette affaire sont les suivants :
- 1. Déterminer si la décision attaquée et le jugement de première instance ont commis une erreur dans l’appréciation des caractéristiques distinctives de la revendication 1 du brevet en question au vu du document D1 ;
- 2. Évaluer si la solution technique protégée par la revendication 1 du brevet en question est évidente pour la personne du métier.
Détermination des caractéristiques distinctives
La CNIPA estime que l’objet de la revendication 1 du brevet en question diffère de D1 par la caractéristique suivante : « les parois extérieures gauche et droite de la chambre sont toutes deux des structures en rainure s’étendant dans la direction de la longueur de la chambre« .
En revanche, la cour de première instance estime qu’en plus de la caractéristique distinctive mentionnée ci-dessus, il faut ajouter « la surface intérieure gauche de la cavité de logement entre les deux premières nervures de positionnement (14) est une surface courbe convexe vers l’extérieur ; la surface intérieure droite de la cavité de logement entre les deux secondes nervures de positionnement (15) est également une surface courbe convexe vers l’extérieur« .
Après analyse, la Cour suprême a confirmé que le point de vue de la CNIPA est correct.
Étant donné que ce point ne constitue pas le sujet de notre article, nous ne détaillerons pas le raisonnement de la Cour suprême.
Évidence de l’invention
La Cour suprême estime que :
Pour apprécier le caractère évident de la solution technique revendiquée pour la personne du métier, il convient de partir de l’état de la technique le plus proche et du problème technique réellement résolu par la solution technique revendiquée, et déterminer si l’état de la technique fournit un enseignement sur l’application de la caractéristique distinctive à l’état de la technique le plus proche pour résoudre le problème technique qu’il présente.
Si la caractéristique distinctive présente une relation de coopération avec d’autres caractéristiques techniques, si l’effet technique produit par la caractéristique distinctive et le problème technique qu’elle résout dépendent de l’effet technique d’autres caractéristiques techniques, et si les caractéristiques techniques correspondantes de l’état de la technique le plus proche ne peuvent pas produire le même effet technique en raison de son objectif et de sa conception inventive, alors la personne du métier ne serait pas motivée à améliorer l’état de la technique, et la solution technique revendiquée ne serait donc pas évidente pour la personne du métier.
Comme mentionné précédemment, la seule caractéristique distinctive entre la revendication 1 du brevet en question et D1 réside dans le fait que « les parois extérieures gauche et droite de la chambre sont toutes deux des structures en rainure s’étendant dans la direction de la longueur de la chambre« . Selon le paragraphe [0006] de la description du brevet en question, les surfaces intérieures des deux côtés de la cavité de logement entre les nervures de positionnement sont des surfaces courbes convexes vers l’extérieur ; lors du pressage de la chambre, les parois latérales de la chambre se déforment vers l’extérieur sous l’effet de la force, et les structures en rainure fournissent un espace pour cette déformation. Il apparaît donc que l’effet technique apporté par les structures en rainure dans le brevet en question est étroitement lié au besoin d’espace pour la déformation vers l’extérieur des parois latérales de la chambre, résultant de la surface courbe convexe vers l’extérieur mentionnée ci-dessus. Par conséquent, le problème technique réellement résolu par la revendication 1 du brevet en question par rapport à D1 est de fournir un espace pour la déformation vers l’extérieur lors du pressage de la chambre.
Fig. 3 de D1 (CN204180289U)
Selon le paragraphe [0002] de la description de D1, le problème technique que D1 cherche à résoudre est le suivant : « L’espace occupé par l’ensemble du noyau chauffant PTC (20) dans le tube en aluminium (10) est trop important ; lors du pressage du tube en aluminium (10), le noyau chauffant PTC (20) peut ne pas être centré dans la direction de la largeur, ce qui entraîne une distribution inégale de la force sur le tube en aluminium (10) dans la direction de la largeur. » Pour centrer le noyau chauffant PTC dans le tube en aluminium dans la direction de la largeur, D1 propose de disposer des barres de positionnement (12) sur les parois latérales pour limiter l’espace de déplacement du noyau chauffant PTC dans la direction de la largeur du tube en aluminium. Si, lors du pressage, les parois latérales de D1 se bombent globalement vers l’extérieur, les barres de positionnement (12) se déplaceraient inévitablement vers l’extérieur, la distance entre les barres de positionnement (12) et le noyau chauffant PTC (20) augmenterait, et l’espace de mouvement du noyau chauffant PTC (20) dans le tube en aluminium (10) augmenterait également, ce qui rendrait difficile le centrage dans la direction de la largeur du tube en aluminium, contrairement à l’objectif de D1.
Compte tenu du fait que la surface extérieure de D1 (selon la figure 3) est une structure en surface courbe concave vers l’intérieur, bien que la surface intérieure de la chambre entre les barres de positionnement de D1 soit également une surface courbe convexe vers l’extérieur, elle ne produit pas l’effet technique de déformation vers l’extérieur des parois latérales de la chambre sous l’effet de la force, et par conséquent, il n’existe pas de problème relatif à la nécessité d’un espace supplémentaire pour accueillir la déformation vers l’extérieur des parois latérales. La personne du métier, partant de D1, n’aurait aucune motivation de disposer des structures en rainure sur les parois extérieures des deux côtés pour fournir un espace pour la déformation vers l’extérieur. L’état de la technique invoqué par le demandeur d’invalidation ne divulgue pas la structure en rainure de la revendication 1 du brevet en question, ni ne fournit un quelconque enseignement technique en ce sens.
De plus, il n’y a pas non plus de preuve indiquant que la disposition de structures en rainure sur les parois extérieures de la chambre est un moyen technique facilement concevable par la personne du métier. En résumé, l’état de la technique ne fournit aucun enseignement sur l’application de la caractéristique distinctive à D1 pour résoudre le problème technique qu’il présente.
La conclusion de la cour de première instance selon laquelle « la personne du métier pourrait obtenir, sans effort inventif, l’objet de la revendication 1 du brevet en question sur la base de D1, grâce à ses connaissances et capacités dans le domaine » est inappropriée. La conclusion de la décision rendue par la CNIPA selon laquelle l’objet de la revendication 1 du brevet en question implique une activité inventive est correcte, et la Cour suprême la confirme.
III. Nos commentaires et enseignements pratiques
Face à l’opinion mentionnée au début de l’article, on peut s’appuyer sur la synergie (si elle existe) entre les caractéristiques techniques pour formuler nos arguments en faveur de l’activité inventive de l’invention. Plus précisément, on peut démontrer les points de vue suivants à l’aide d’une analyse technique détaillée et des preuves nécessaires :
- Lorsqu’une solution technique comporte des caractéristiques techniques présentant des liens étroits, une interdépendance, et lorsque ces caractéristiques résolvent conjointement le même problème technique par une synergie et produisent des effets techniques liés, ces caractéristiques doivent être considérées globalement lors de la comparaison entre l’invention et l’état de la technique le plus proche, comme une unique caractéristique correspondant au groupe de caractéristiques. Il convient d’éviter une évaluation fragmentaire et rigide des caractéristiques prises isolément, qui ne tiendrait pas compte de l’unité fonctionnelle de la solution revendiquée ;
- Si une caractéristique distinctive présente une relation de coopération avec d’autres caractéristiques, si l’effet technique qu’elle produit et le problème technique qu’elle résout dépendent de l’effet technique d’autres caractéristiques, et si les caractéristiques correspondantes de l’état de la technique le plus proche ne peuvent pas produire le même effet technique en raison de son objectif et de sa conception inventive, alors la personne du métier, partant de l’état de la technique, ne serait pas motivée à l’améliorer, et la solution technique revendiquée ne serait donc pas évidente pour la personne du métier.
Par conséquent, lors de la rédaction d’une demande de brevet, il ne suffit pas de décrire de manière détaillée l’effet technique produit par chaque caractéristique importante. Il est également important d’indiquer clairement comment les caractéristiques soutiennent mutuellement leurs fonctions, et quelle est leur relation d’interaction ou de coopération synergétique, le cas échéant. Ces contenus peuvent fournir un soutien solide pour la démonstration ultérieure de l’activité inventive de l’invention dans la procédure de délivrance ou d’invalidation.
Article rédigé par Mei TAO


